简介:
COPPUS品牌JECTAIR HP and Hornet HP文丘里风机,具有质量轻、耐撞击、传导型聚合材料、扩散管坚固不易损坏等特点。其中,COPPUS JECTAIR Hornet HP可以提供提供3S-HP、3-HP、6-HP三种尺寸;聚合材质可安全排除静电;扩散管为低密度的聚乙烯材质,UL等级为94-V2, 操作温度可达93"C。是“高性能,高效率之鼓风文丘里风机”的代表作,Coppus Jectair HP在工业界被公认效能较优良的鼓风文丘里风机, 与旧式文丘里风机相比较,新式文丘里鼓风机能达到40:1的空气流量转换,并减少26%压缩空气的消耗。
特色:
•五种尺寸供选择:9,8,6-HP,3-HP,3S-HP
•HI Performer (HP)及Hornet系列皆可提供6-HP,3-HP,3S-HP
•送风量为 1,370-8,900cfm(2,328-15,121 m³/hr)
•进/出气额定比可达40:1
•喷嘴与外壳一体成型
•高静电压性能
•提供钢质,铝质或防撞聚合材质多款扩散管(Hornet HP型)
•钢制扩散管以黄色环基氧粉及传导材料包覆,可排除静电
•无可卸式组件,免维修
•所有型号配备静电接地线及弹簧夹
•可在扩散管末端接伸缩风管(亦可选用风管入口拼合器)
•可选用三角架


操作原理:
压缩空气或蒸气透过单一入口接合装置 进入Jectair鼓风机。由喷嘴喷出的气体或蒸气,形成文丘里原理,吸引周围空气经由入口进入Jectair,空气便透过管状扩散管以高速率的方式被排放出来。
注意:操作效能依赖压缩空气之流量及压力
COPPUS JECTAIR文丘里风机选型:
|
型号
|
颜色 |
材质 |
压力100psig的风量 |
图片 |
适用环境 |
|
3S-HP |
黄色 |
镀锌钢 |
2820m³/hr |
|
普通环境 |
|
3-HP |
黄色 |
镀锌钢 |
3160m³/hr |
||
|
6-HP |
黄色 |
镀锌钢 |
8274m³/hr |
||
|
8 |
黄色 |
镀锌钢 |
11469m³/hr |
||
|
9 |
黄色 |
镀锌钢 |
15120m³/hr |
||
|
3S-HP Hornet |
黑色 |
聚乙烯 |
2820m³/hr |
|
易燃易爆环境 |
|
3-HP Hornet |
黑色 |
聚乙烯 |
3160m³/hr |
||
|
6-HP Hornet |
黑色 |
聚乙烯 |
8274m³/hr |
性能:
进/出气额定比=总送风量m³/hr/空气消耗量m³/hr
|
入口风压 |
型号 |
送风量cfm(m3/hr) |
空气消耗量cfm(m3/hr) |
进/出气额定比 |
|
60psig |
3S-HP |
1,370/2,328 |
47/80 |
29.1 |
|
3-HP |
1,520/2,595 |
47/80 |
32.3
|
|
|
6-HP |
3,980/6,762
|
98/167 |
40.6
|
|
|
8 |
5,600/9,515 |
178/302 |
31.5
|
|
|
9 |
6,880/11,096 |
265/450 |
25.8
|
|
|
80psig |
3S-HP |
1,530 /2,600 |
61/104 |
25.1 |
|
3-HP |
1,700/2,888 |
61/104 |
27.8
|
|
|
6-HP |
4,500/7,645 |
126/214 |
35.7
|
|
|
8 |
6,250/10,620
|
233/396 |
26.8
|
|
|
9 |
8,000/13,592 |
336/571 |
23.8
|
|
|
100psig |
3S-HP |
1,660/2,820 |
72/122 |
23.0
|
|
3-HP |
1,860/3,160 |
72/122 |
25.8
|
|
|
6-HP |
4,870/8,274 |
153/260 |
31.8
|
|
|
8 |
6,750/11,469
|
282/479 |
23.9
|
|
|
9 |
8,900/15,12 |
410/697 |
21.7
|
|
型号 |
入口风机 |
||
|
|
60 psig 4.2kg/cm2 |
80 psig 5.6kg/cm2 |
l00psig 7kg/cm2 |
|
3S-HP |
5.8" / 147mm |
7.5" / 191mm |
89' / 224mm |
|
3-HP |
5.8〃 / 147mm |
7.5" / 191mm |
8.9" / 224mm |
|
6-HP |
4.3" / 109mm |
5.2” / 132mm |
6.7" / 170mm |
|
8 |
3.9" / 99mm |
5.2” / 132mm |
6.2” / 157mm |
|
9 |
5.5" / 140mm |
6.8" / 173mm |
7.7” / 196mm |
|
型号 |
风管直径 |
自由风 |
20ft/6m |
30ft/9m |
40ft/12m |
50ft/15m |
|
3-HP |
8" 203mm |
1,700/2,888 |
1,550/2,634 |
1,480/2,515 |
1,410/2,396 |
1,350/2,294 |
|
6-HP |
12”305mm |
4,500/7,645 |
4,020/6,830 |
3,860/6,558 |
3,715/6,312 |
3,580/6,083 |
|
8 |
14”356mm |
6,250/10,620 |
5,550/9,431 |
5,280/8,972 |
5,050/8,581 |
4,850/8,241 |
|
9 |
14" 356mm |
8,000/13,592 |
6,850/11,640 |
6,550/11,130 |
6,250/10,620 |
6,000/10,195 |
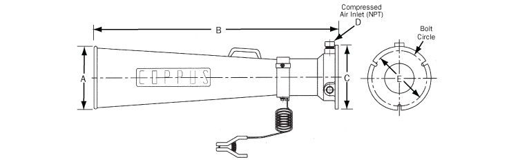
尺寸结构图:

尺寸规格参数表:
型号
A inch/mm
B inch/mm
C inch/mm
D inch/mm
固定缝
WT lbs/kg
E inch/mm
No.
宽度 inch/mm
6.0/152
16.5/419
7.5/190
1/2/13
6.5/165
3
0.4/10
6/2.7
3-HP
7.3/185
33.0/838
7.5/190
1/2/13
6.5/165
3
0.4/10
9/4.1
6-HP
12.0/305
44.2/1,123
11.5/292
1/25
10.8/274
3
0.4/10
21/9.5
8
14.0/356
46.0/1,168
14.3/363
1/25
13.5/343
3
0.5/13
35/15.9
9
14.0/356
46.0/1,168
16.8/427
1/25
15.3/387
0.9/23
42/19
噪声变化:
安全措施:
•在危险环境中务必使用接地线(COPPUS Jectair标准配备),以利于静电排放
•在空气或蒸气进入之前,需要先检查装备,以防范反作用力过高所造成伤害与危险。
•操作时需要避免固体或瓦砾进入入口
•密闭容器排放烟雾时,注意不可造成真空状态以免容器破裂。
使用现场:
适用行业:
Coppus便携式散热降温鼓风机为各行业提供一个可靠安全的空气供应及交换系统,特别针对密闭空间操作中的工序及机械冷却及人员降温,以改善总体生产效率及操作安全。
喷涂和喷漆:干燥及固化,排烟、供应新鲜空气,保证舒适安全的工作环境;
钢厂高温操作车间:工序冷却、人员降温;
电力以及燃气应用:地下通风、设备冷却,排烟;
造纸厂:密闭空间通风,人员降温;
造船厂:定位焊接作业过程排烟,供应新鲜空气;
船舶:船舱换气;
炼油厂:设备冷却,密闭空间通风,人员降温;
化工厂:排烟、通风、人员降温;
食品加工处理:排烟、工序冷却;
发电:密闭空间通风、人员降温;
COPPUS通风机型号大全:
1、Double Duty Heat Killer
COPPUS-DDHK-18K03D、COPPUS-DDHK-24K07D、COPPUS-DDHK-24K10D、COPPUS-DDHK-30K30D
2、Jectair Hornet
COPPUS-Jectair-3S-HP、COPPUS-Jectair-3-HP、COPPUS-Jectair-6-HP、COPPUS-Jectair-8、COPPUS-Jectair-9
3、Reaction Fans
COPPUS-RF-12、COPPUS-RF-16、COPPUS-RF-20、COPPUS-RF-24
4、CADETS
COPPUS-VAC4(普通)、COPPUS-VEP4(防爆)、COPPUS-CAC4(普通)、COPPUS-CEP4(防爆)
5、VANO
COPPUS-175CV、COPPUS-250CV
6、COPPUS-Air Max-12
7、TA16
COPPUS-TA16-5000、COPPUS-TA16-5500
8、Portavent
COPPUS-PV-500、COPPUS-PV-750、COPPUS-PV-1000
9、Ventair
COPPUS-TM-4、COPPUS-TM-5、COPPUS-TM-6、COPPUS-TM-8、COPPUS-TM-9
联系人:沈先生
手 机:133-7212-5666
邮 箱:China@swn.cn
公 司:昆山市玉山镇国昆消防工程技术服务部
地 址:江苏省昆山市春晖路666号